《城镇污水排入排水管网许可证》核发
| 事项名称 | 《城镇污水排入排水管网许可证》核发 |
| 事项类型 | 行政许可 |
| 设定依据 | 根据《城镇排水与污水处理条例》(中华人民共和国国务院令第641号)以及《城镇污水排入排水管网许可管理办法》(中华人民共和国住房和城乡建设部建设部令第21号)的规定,经审查,准予在许可范围内向城镇排水设施排放污水。 |
| 实施机构 | 华容县污水处理管理办公室 |
| 法定办结时限 | 受理之日起15个工作日 |
| 受理条件 | 建设部令第21号《城镇污水排入排水管网许可管理办法》第八条:符合以下条件的,予以核发城镇污水排入排水管网许可证书: (一)污水排放口的设置符合城镇排水与污水处理规划的要求; (二)排放污水的水质符合国家或者地方的污水排入城镇下水道水质标准等有关标准; (三)按照国家有关规定建设相应的预处理设施; (四)按照国家有关规定在排放口设置便于采样和水量计量的专用检测井和计量设备;列入重点排污单位名录的排水户已安装主要水污染物排放自动监测设备; (五)法律、法规规定的其他条件。 施工作业需排水的,建设单位应当已修建预处理设施,且排水符合本条第一款第二项规定的标准。 第九条 排水许可证的有效期为5年。 |
| 申请材料 | 建设部令第21号《城镇污水排入排水管网许可管理办法》第七条:申请办理城市排水许可证书,应当如实提交下列材料: (一)排水许可申请表; (二)排水户内部排水管网、专用检测井、污水排放口位置和口径的图纸及说明等材料; (三)按规定建设污水预处理设施的有关材料; (四)排水隐蔽工程竣工报告; (五)排水许可申请受理之日前一个月内由具有计量认证资质的水质检测机构出具的排水水质、水量检测报告;拟排放污水的排水户提交水质、水量预测报告; (六)列入重点排污单位名录的排水户应当提供已安装的主要水污染物排放自动监测设备有关材料; |
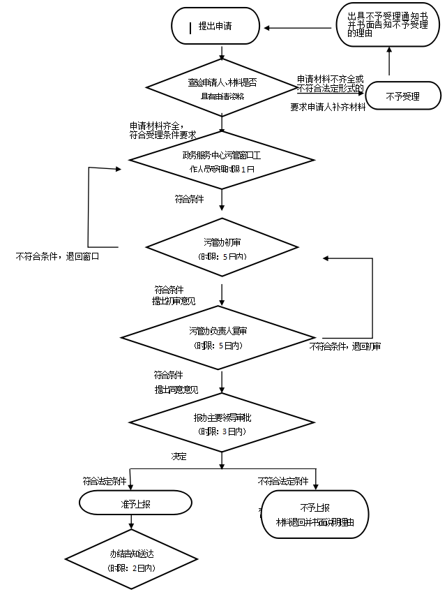
| 办理流程 | 受理—初审—复审—决定—送达与公告 (一)受理 1、岗位责任人:政务服务中心住房和城乡建设局窗口工作人员。 2、岗位职责及权限: 按照许可的法定条件、标准,查验申请材料是否齐全、是否符合法定形式,申请事项是否属于行政主体的职权范围,许可申请是否在法律、法规规定的期限内提出,申请人是否具有申请资格;决定是否受理。同时,概据《行政许可法》第三十二条的规定分别作出处理: ①、申请事项依法不需要取得行政许可的,应当即时告知申请人不予受理; ②、申请事项依法不属于本行政机关职权范围的,应当即时作出不予受理的决定,并告知申请人向有关行政机关申请; ③、申请材料存在可以当场更正的错误的,应当允许申请人当场更正; ④、申请材料不齐全或者不符合法定形式的,应当当场告知申请人需要补正的全部内容,逾期不告知的,自收到申请材料之日起即为受理; ⑤、申请材料属于本行政机关职权范围,申请材料齐全、符合受理条件要求,或者申请人按照本行政机关的要求提交全部补正申请材料的,应当受理行政许可申请; ⑥、受理或者不予受理行政许可申请,均应当出具书面凭证。 3、时限:即时。 (二)审查 A、初审 1、岗位责任人:污水处理管理办排水许可管理负责人。 2、岗位职责及权限: (1)根据许可条件及审核标准对申请人提交的材料内容进行合法性、真实性审查,需要补正材料的,应在5个工作日内,由窗口工作人员一次告知申请人需要补正的全部内容。 (2)对符合条件的,提出初审意见,交污水处理管理办负责人复审。 3、时限:5个工作日。 B、复审 1、岗位责任人:污水处理管理办负责人。 2、岗位职责及权限:按照许可条件及审核标准对申请材料进行复审,对符合许可条件及标准的,提出同意的意见,报住房和城乡建设局分管领导审定;对不符合许可条件及标准的,提出不同意的意见及理由,与申办材料一并交受理人。 3、时限:5个工作日。 (三)决定 1、岗位责任人:污水处理管理办主任。 2、岗位职责及权限: ①、按许可条件及标准对申请材料及审查意见进行审定; ②、对符合法定条件、标准的,在审批表上签署同意的意见;不符合法定条件、标准的,签署不予许可的意见及理由。 3、时限:3个工作日。 (四)、送达与公告 1、岗位责任人:政务服务中心住房和城乡建设局窗口工作人员。 2、岗位责任及权限: ①、许可项目承办人制作许可证书交市政务中心建设局服务窗口,窗口工作人员通知申请人办理有关手续。 ②、对不予行政许可的,向申请人发出不予行政许可决定书,并说明理由,同时告知申请人享有依法申请行政复议或提起行政诉讼的权利。 ③、对准予行政许可的,工作人员应当在岳阳市政务服务中心信息网上予以公示。 ④、按照档案管理规定将材料整理归档。 3、时限:2个工作日。 办理时限为受理之日起15个工作日。 |
| 是否收费 | 不收费 |
| 承诺办结时限 | 发证机关在受到申请单位报送的《城镇污水排入排水管网许可申请表》和所附证明文件后,对于符合条件的,应当自窗口收到申请之日起15日内颁发《城镇污水排入排水管网许可证》;对于证明文件不齐全或失效的,应当限期要求申请单位补正,审查审批时间自补正齐全后作相应顺延;对于不符合条件的,应当自窗口收到申请之日起15日内书面通知申请单位,并告知不予许可的理由。 |
| 办理地点 | 华容县章华镇华容大道行政服务中心(阳光大厦) |
| 办理时间 | 办公时间:周一至周五 (法定节假日除外) 春夏:上午:8:00-12:00 下午:2:30-5:30 秋冬:上午:8:00-12:00 下午:3:00-6:00 |
| 咨询电话 | 0730-4188085 |