当前位置:
首页
>
政府信息公开
>
部门信息公开目录
>
政府工作部门
>
县交通运输局
>
政策文件
索引号:0063822229/2024-2175994
发布机构:县交通局
公开范围:全部公开
生成日期:2024-03-28
公开日期:2024-03-28
公开方式:政府网站
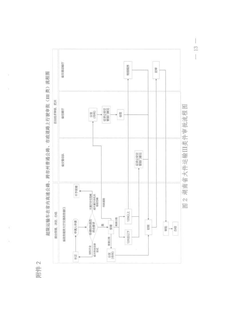
印发《关于推进跨部门综合监管+优化我省大件运输环境工作方案》的通知
来源:华容县交通运输局
2024-03-28 11:41
浏览量:
1
|
|
|
|
扫一扫在手机打开当前页